智能实验装备管理系统是通过智能无感仪器管理软件利用RFID无线射频技术,结合智能化终端设备实现一物一码的无感管理,帮助学校完成对普通实验装备的无感智能化全生命周期管理为目的,实现对实验装备从采购入库到分配存放位置、到平时的借用、归还、库存监测、盘点、报废管理等全流程的过程智能管控,全面反映真实的使用情况、损耗情况以及库存情况,并最终形成相关的查询报表。各级管理人员可以通过系统及时、准确的了解到相关使用信息,从而更高效、全面的管理,为领导的决策提供便捷的支撑平台.
1.品牌型号:北泽智慧实验室综合管理系统V1.0
2.为保障系统的并发性,整体采用了SAAS技术架构形式,支持注册多机构,每个机构有独立的成员信息,岗位信息,审核流程,区域信息等,各机构数据独立和隔离
3.系统须基于统一数据平台,开发采用JavaEE技术和B/S(浏览器/服务器模式)应用程序架构模式
4.操作系统:需兼容Windows Sever和Linux;及国产化操作系统
5.数据库系统:国产化主流数据系统
6.框架结构:Spring Boot 2.2.5及以上,JDK 1.8及以上
7.部署环境:Nginx或tomcat
8.系统支持:支持Edge,WebKit内核浏览器(谷歌,Firefox等),部分定制功能,支持低代码快速开发,且能无缝集成到系统中
9.系统管理和基础信息:各子系统拥有共用的系统管理和基础信息,包括统一的账号管理,角色权限管理组织架构和部门管理,审核流程管理,打印模板管理,房间、区域管理等基础模块的维护。包括账号的导入,新增,修改,权限分配;系统角色的定义和系统权限分配,默认包括系统管理员,科室管理员,资产管理员,等通用角色;部门的创建,分配和维护;房间信息的创建,维护等
10.数字化实验室教学服务管理平台包含5个功能模块:大数据可视化中心、智能无感仪器管理模块、实验室教学管理模块、智能危化品管理、环境监测预警。以上5个功能模块统一在一个软件平台界面下,可由一个账号登录进入以上5个子管理系统进行操作管理,无须切换账号和软件
11.数据互通:可与智取终端、智能仪器管理车无缝对接,进行无感数据交换,实现实验室数据集中管理,极大提高实验室管理效率
12.提供制造商相应的“智慧实验室综合管理系统”相关计算机软件著作权证书扫描件
大数据可视化中心(校级)参数如下:
13.大数据可视化中心用于整个平台系统各个子系统模块的大数据采集、大数据接入,形成大数据共享中心再通过智能算法对数据进行统计分析管理,把相对复杂、抽象的数据通过可视的方式以人们更易理解的形式展示出来,数据可视化是为了更形象地表达数据内在的信息和规律,促进数据信息的传播和应用
14.实验开课实时状态:实验室开课实时状态模块的数据以列表的形式实时、滚动展现学校实验室开最新的上课信息,字段内容包括“实验名”、“班级”、“教师”、“地点”
15.实验开出率排行:支持根据年度、学期筛查各阶段数据。实验开出率排行模块以各学科分项排行列表的形式展示了实验教学排行情况;分项字段为“汇总”、“物理”、“化学”、“生物”根据学科选择进行数据展示,具体展示内容字段:“序号”、“班级”、“开出率”
16.实验仪器总量:已动态数字形式显示全校实验仪器总量、物理仪器总量、化学仪器总量、生物仪器总量总量数据
17.实验开课数走势图:按月份展现线型走势图,物理、化学、生物学科数据予以展示
18.仪器借还统计图:按学期、学科已每月物理、化学、生物学科统计仪器借出、归还,按走势图形式进行数据展示
19.仪器概况:按照在用、借用中、待报废、已报废、闲置分别进行数量的数据统计,并通过环形对比图进行展示
20.仪器分类统计:从数量、金额两个方向进行展示
21.仪器达标率统计:可通过环形对比图展示达标仪器数和未达标仪器数
22.软件主界面展示包括但不限于如下信息:(1)实验室实时状态(总量、空闲中、使用中);(2)仪器总量(物理、化学、生物);(3)仪器概况(仪器数量、在用、闲置、待报废、已报废、使用中)(4)实验开课实时状态(实验名、班级、教师、地点)(5)实验开出率排行(班级、开出率,学期等)(6)实验开课月份走势图(物理、化学、生物)(7)仪器达标率统计(达标仪器数、未达标仪器数)(8)仪器分类统计
实验室教学管理模块参数如下
23.实验室教学管理系统基于理化生等学科的实验教学特点和应用场景,借助智能实验室管理软件和智能实验课程管理软件实现学校实验教学流程化管理,包括实验库创建、实验计划制定、实验联动实验室预约、仪器准备、实验日志登记、实验照片视频上传、实验开出率统计的全流程智能化管理,有效的提高实验开出真实性数据上报,为实验室和实验教学研究提供真实数据,推动理化生实验教学管理优化发展
实验排课
24.按照日历表的形式进行日期显示课表数据,支持按照周、月历表形式展示每日课时信息,根据预约人、预约时间、实验室、实验名称进行显示,点击预约信息查看预约详情。支持搜索实验功能,我的预约信息显示
25.创建预约按照预约时间、班级名称、实验名称、是否必做、实验教师、开课地点、实验人数、实验小组数、备注填写数据。同步调取平台学期、学年、班级信息,进行选项操作,无需手动填写
26.实验信息支持逐行添加,根据仪器、耗材进行区分,按照仪器信息、数量进行选择,支持操作逐条删除
实验预约记录
27.根据实验名称、班级名称、预约人、实验教师、开课地点、实验学科、状态、预约时间、登记时间进行查询、清空内容,支持导出功能
28.按照实验名称、开课地点、实验学科、班级名称、实验教师、预约人、预约时间、登记时间、状态、操作显示各项数据。操作支持点击查看预约详情
实验开课记录
29.根据实验名称、开课地点、实验学科、班级名称、实验教师、登记人、预约时间进行条件查询、清空信息
实验库管理:
30.支持对各实验课程项目进行选择;实验项目具体信息按照创建人、创建时间、实验名称、实验类型、标准、仪器种类、实验指南、实验仪器信息进行显示。实验指南支持上传文件功能,实验仪器信息根据仪器、耗材分项选择显示仪器信息、计量单位、数量、操作信息
实验计划管理:
31.支持按照学年、学期、年级进行查询、清空;支持导入实验课程数据。根据学年、学期的各学科实验计划显示:创建人、创建时间、实验总数、学年、年级、学期、实验信息数据
教师实验开出统计
32.支持按照学年、学期进行选择查询、清空,支持导出功能
33.按照教师信息分项统计:演示实验:应做学时数、实做学时数、开出率%;分组实验:应做学时数、实做学时数、开出率%;合计:应做学时数、实做学时数、开出率%;操作支持详情页操作
34.详情页支持实现类型选项查询、清空;支持导出功能;返回统计页
35.根据学年学期显示实验统计应做学时数、实做学时数、开出率
36.页面按照实验名称、实验类型、是否必做、实验教师、开课地点、开课时间、实验人数、实验小组数、状态、备注、操作显示各项数据;操作支持添加备注
班级实验开出统计
37.支持按照学年、学期、班级进行选择查询、清空,支持导出功能
38.按照年级信息分项统计:演示实验:应做学时数、实做学时数、开出率%;分组实验:应做学时数、实做学时数、开出率%;合计:应做学时数、实做学时数、开出率%;操作支持详情页操作
39.详情页支持实现类型选项查询、清空;支持导出功能;返回统计页
40.根据学年学期显示班级实验统计应做学时数、实做学时数、开出率;页面按照实验名称、实验类型、是否必做、实验教师、开课地点、开课时间、实验人数、实验小组数、状态、备注、操作显示各项数据;操作支持修改备注、显示实验报告单
软件主界面展示包括但不限于如下信息
41.实验排课(按照日历显示,显示预约人、预约时间、实验室等)
42.实验预约记录(显示实验名称、开课地点、实验学科、班级名称、实验教师、预约人、预约时间、登记时间、状态、操作等)
43.实验开课记录(显示实验名称、开课地点、实验学科、是否必做、班级名称、实验教师、登记人、预约时间等)
44.实验库管理(显示创建人、创建时间、实验名称(按照学科选择实验名称)、实验类型、标准、仪器种类、实验指南、实验仪器信息等)
45.实验计划管理(显示创建人、创建时间、实验总数、学年、年级、学期、实验信息数据等。)
46.教师实验开出统计(显示实验名称、实验类型、是否必做、实验教师、开课地点、开课时间、实验人数、实验小组数、状态、备注、操作)
47.班级实验开出统计(显示实验名称、实验类型、是否必做、实验教师、开课地点、开课时间、实验人数、实验小组数、状态、备注、操作)
智能无感仪器管理模块参数如下
48.利用RFID无线射频技术,软件对终端设备采集到的RFID信息进行分析处理;自动匹配每一条仪器信息从而实现一物一码的无感管理;帮助学校完成对固定仪器的无感智能化全生命周期管理为目的,对仪器从入库到分配存放位置、到平时的借用、归还、库存监测、盘点、报废管理等全流程的过程智能管控,全面反映真实的使用情况、损耗情况以及库存情况,并最终形成相关的查询报表。各级管理人员可以通过系统及时、准确的了解到相关使用信息,从而更高效、全面的管理,为领导的决策提供便捷的支撑平台
仪器入库
49.支持将仪器进行系统入库操作,系统支持批量入库及页面新增入库的功能
50.仪器入库页面信息包括:查询、清空、新增、导入、导出;批次号、导入人、导入类型、数量、金额、导入日期、操作
51.新增入库仪器:在入库页面支持新增仪器,新增页面信息包括:信息包括:仪器名称、规格型号、仪器编号、标签编码、入库数量、计量单位、仪器类型、仪器分类、保养周期、有效期、库存预警阈值、仪器来源、保管人、入账日期、品牌、采购价格、采购日期、会计凭证号、经费来源、备注的字段信息;支持提交、取消操作
库存
52.库存页面显示库存总金额、库存总量、支持按照仪器名称、规格型号进行查询、清空、导出
53.查询结果按仪器名称、规格型号进行同类合并显示,显示信息为:仪器名称、规格型号、库存总金额、库存总量、在用总量、闲置总量,操作支持查看详情;支持库存初始化操作
54.进入详情展示信息包括:仪器编号、标签编码、仪器名称、规格型号、仪器类型、仪器分类、存放位置、领用人、保管人、创建时间、有效期、保养周期、采购日期、采购价格、入账日期、计量单位、仪器来源、经费来源、品牌、会记凭证号、状态、净残值、图片、备注
库存清单
55.展示所有仪器库存的清单列表,支持按照仪器编号、标签编码、仪器名称、规格、存放位置、仪器类型、仪器分类、状态、领用人、入账日期进行查询和清空查询条件;查询信息展示为:序号、仪器图片、仪器编号、标签编码、仪器名称、规格型号、仪器类型、仪器分类、有效期
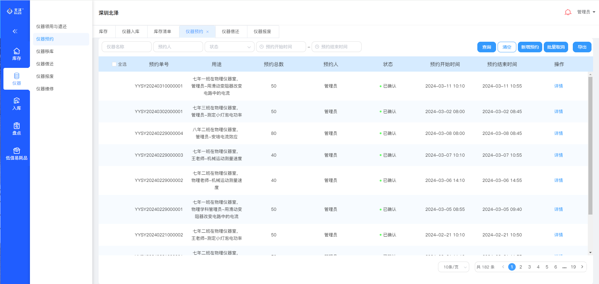
仪器预约
56.仪器预约记录显示字段:包括预约单号、用途、预约总数、预约人、状态、预约开始时间,预约结束时间、详情
57.仪器预约详情具有以下功能展示:仪器图片、仪器名称、规格型号、数量
58.新增预约单具有以下功能展示:预约人、预约时间、用途、仪器信息、数量、操作
仪器借还
59.仪器借还展示的为管理设备的借还操作记录
60.搜索功能按照:借还单号、操作人信息、操作时间、类型、进行检索
61.页面支持:查询、清空、导出功能操作
62.仪器借还详情页面展示信息为:标签编码、仪器名称、规格型号、存放位置
仪器报废
63.搜索功能支持按照:报废单号、提交人、报废日期、报废类型进行查询,页面支持:查询、清空、导出操作
64.报废单详情展示包括:标签编码、仪器名称、规格型号、仪器类型、存放位置、计量单位、单价、仪器有效期
65.平台支持“新增报废”和“导入报废”两种报废操作
66.“新增报废”针对少量、明确的物品进行报废操作,页面支持将需要报废的仪器通过仪器名称、标签编码进行添加,填写报废原因,进行提交报废,提交人为当前账号人、报废日期为当前日期,自动生成报废单记录
仪器维修
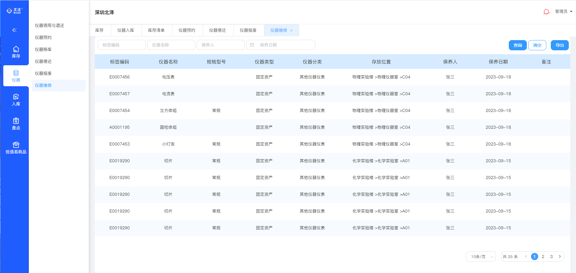
67.搜索功能按照:标签编码、仪器名称、保养人、保养日期信息进行检索
68.支持:查询、清空、导出功能操作
69.软件页面显示按照:标签编码、仪器名称、规格型号、仪器类型、仪器分类、存放位置、保养人、保养日期、备注
盘点
70.盘点计划:根据盘点类型、盘点花时间、状态、盘点范围进行查询、清空。支持新增盘点任务、导出功能。软件页面按照盘点单号、执行人、盘点类型、盘点范围、盘点数量、异常数量、状态、盘点时间、操作进行展示操作。新增盘点任务页面按照盘点类型、盘点范围条件筛选,进行盘点任务的创建。盘点品类清单:支持添加品类进行盘点品类选择、删除。页面按照:仪器名称、规格型号、仪器类型、仪器分类显示分项数据
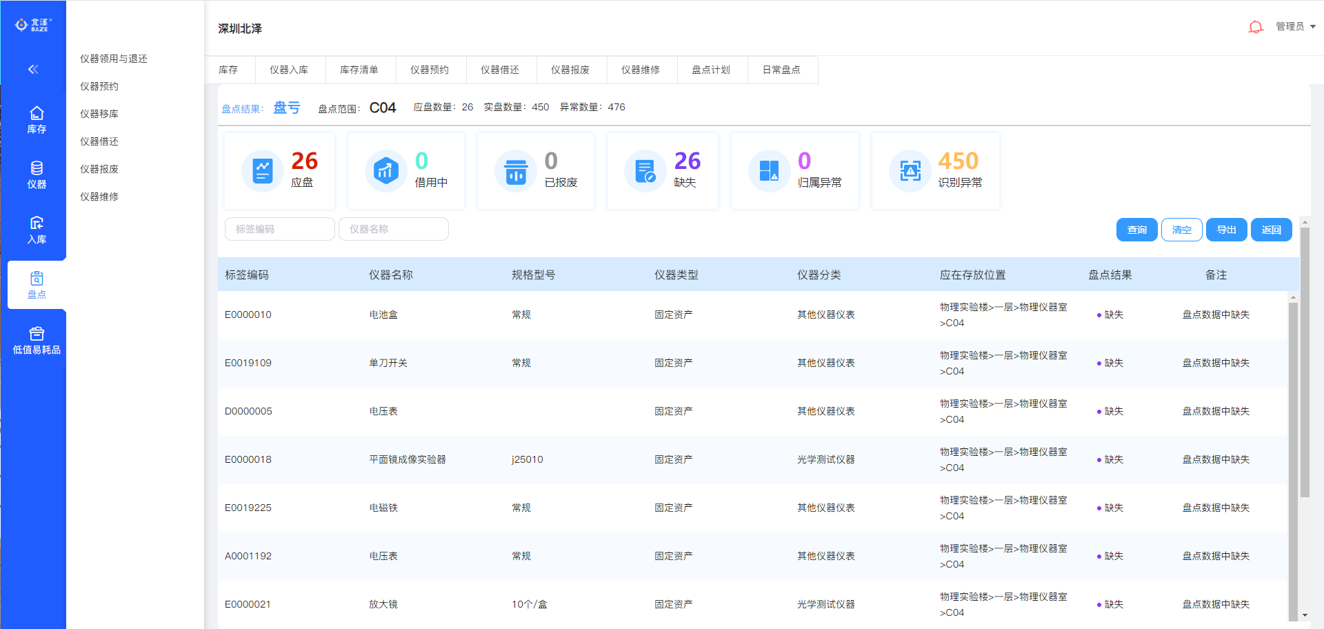
71.日常盘点:页面按照盘点单号、执行人、盘点类型、盘点范围、盘点数量、异常数量、状态、盘点时间、操作显示各项数据。操作支持详情页查看。日常盘点详情页按照不同状态显示,盘点结果、盘点范围、应盘数量、实盘数量、异常数量数据。根据应盘、借用中、已报废、缺失、归属异常、识别异常进行数据统计。页面按照:标签编码、仪器名称、规格型号、仪器类型、仪器分类、应在存放位置、盘点结果、备注、操作显示数据
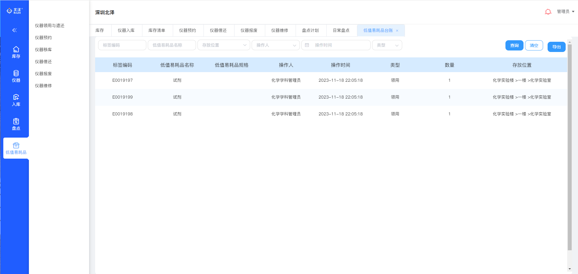
低值易耗品台账
72.搜索功能按照:标签编码、低值易耗品名称、存放位置、操作人、操作时间、类型信息进行检索
73.页面支持:查询、清空、导出功能操作
74.软件页面显示按照:标签编码、低值易耗品名称、低值易耗品规格、操作人、操作时间、类型、数量、存放位置进行分项展示
低值易耗品库存
75.软件页面显示库存总金额、库存总量、支持按照耗材名称、规格型号进行查询、清空、导出
76.软件界面查询结果按耗材名称、规格型号进行同类合并显示,软件页面信息包括:耗材名称、规格型号、库存总金额、库存总量、在用总量、闲置总量,操作支持查看详情;支持库存初始化操作
77.软件主界面展示包括但不限于如下信息:(1)库存(仪器名称、规格型号、库存总金额、库存总量、在用总量、闲置总量、操作)(2)仪器(仪器领用与归还、仪器预约、仪器移库、仪器借还、仪器报废、仪器维修。仪器领用与归还子菜单包含领还单号、操作人、操作时间、数量、类型、操作。)(3)入库(批次号、导入人、导入类型、数量、金额、导入日期、操作)(4)盘点(5)低值易耗品(耗材名称、规格型号、库存总金额、库存总量、在用总量、闲置总量、操作)
78.提供品牌供应商获得的国家版权局颁发的智能无感仪器管理软件相关的计算机软件著作权登记证书
智能危化品管理模块(智能试剂管理系统)参数
79.基础信息管理-基础信息用户管理:支持同步现有用户管理系统/单点登录系统的用户列表,形成本系统初始用户列表
80.用户分组管理:各级管理员可将用户基础信息列表中用户拉入本单位,并为其配置在单位内的操作权限等级
通行凭证管理
81.用户可自行添加其通行凭证,包含IC卡(支持校园卡)和人脸特征码:添加IC卡:连接读卡器,读取用户IC卡卡号,写入系统形成通行权限,每个用户可添加不少于3张IC卡;添加人脸:上传人脸照片,提取人脸特征后删除已上传照片,基于人脸特征形成通行权限,每个用户可添加1张人脸;各级管理员可在其账号内为下级用户统一添加IC卡和人脸数据
个人操作管理功能
82.个人操作管理为直接对化学品进行操作的用户使用功能,记录用户自身的操作行为,并仅展示个人的操作数据,方便用户其查看其操作数据是否正确
83.个人待办:展示个人相关的待处理违规信息,用户可点击跳转警报页面查看警报详情
84.个人操作统计:展示用户有关智能设备的操作流水,包括开关门记录、入库记录领用/归还记录、称重记录、报废记录等,支持按日期,化学品名称等进行筛选,查看相关数据
85.个人台账补登记:用户若对个人台账数据有异议,可通过点击【个人台账分析】中的【台账备注】按钮,对台账内的所有个人产生数据进行修改。数据任何修改不会影响系统自动采集的技术,仅作为备注信息附于自动采集数据后,便于有关部门查询
库存管理模块
86.库存统计功能-实时库存统计表:展示实时化学品总量,易制毒、易制爆、剧毒、其它危化品、普通化学品五大类分类存量,和实时化学品总库存量.可点击进入不同类型化学品,查询该类型的库存试剂列表,包含以下字段:化学品名、纯度、库存总量、各规格化学品库存量、各瓶化学品库存位置
87.化学品操作记录查询:支持在库存统计中查看单瓶化学品的全生命周期使用记录
88.库存统计表导出:各级用户可导出其权限范围内可查看的总库存清单或筛选下属各级单位的库存清单,同时支持按品名或分类导出库存清单
89.闲置化学品:展示闲置化学品的库存总量,闲置化学品支持按以下两类条件进行分类查看:入库时间;无使用记录时间;各级管理员可自定义时间范围查看其权限范围内的闲置试剂的明细,包括以下字段:闲置化学品名、纯度、库存总量、各规格库存量、各瓶化学品库存位置
智能台账功能
90.台账分析:向各级管理员展示其权限范围内所有用户的化学使用台账,包含以下字段:领用人、化学品明细(品名、纯度、规格、品牌等)、领用时间、归还时间、使用量
91.导出台账分析:各级管理员可导出其权限范围内可查看的所有台账分析数据,支持按各级单位、用户、品名、分类筛选台账数据,并导出成Excel表格下载至本地电脑
92.台账统计:展示系统记录的用户所有操作记录,其中包括:开门、关门、入库、领用、使用、归还、报废等;各级管理员可根据权限范围筛选查看学院、实验室,用户个人的操作记录
93.导出台账分析:各级管理员可导出其权限范围内可查看的所有台账分析数据,支持按各级单位、用户、品名、分类筛选台账数据,并导出成Excel表格下载至本地电脑
智能警报管理功能
94.警报类别:系统生成的告警分为未关门告警、未归还告警、未称重告警、开关门记录未处理配存禁忌提醒5大类
95.实时警报统计:展示各级权限管理员下级单位的实时违规类型和数量统计表,支持按当日、当月,本年度三个条件筛选查看学校和各下属单位告警统计
区域位置管理
96.用户可根据原有习惯自定义实验室化学品存储位置的名称,便于识别化学品的存储位置,存储位置的定义分为区域和位置两级
97.存储区域管理:一个用户可以建立多个存储区域,一个存储区域可包含多个存储位置。例如某位老师课题组名下有两间实验室,其可在系统内建立两个存储区域
98.位置管理:存储位置以智能柜为基础,实验室级别管理员可自定义其设备名称和存储空间名称和数量
99.设备编辑:院级管理员权限用户可在系统内可设置单台设备的属性,如:更改设备单锁/双锁模式,启动/关闭单台设备配伍禁忌规则(按层或按整柜分析配存犯规情况),启用/停用单台设备的刷卡模块、人脸识别模块等
100.应急授权管理:应急授权用于在化学品柜电子锁发生损坏时,通过启用电子锁备用结构,实现解锁并留存解锁操作记录
101.申请应急钥匙:实验室用户可在后台管理系统向院级管理员提交应急钥匙授权申请,包含需要实验室用户身份信息,需应急解锁的设备名称
102.软件主界面展示包括但不限于如下信息:个人统计、用户管理、智能台账、制作标签、智能库存、智能警报、区域位置管理、设备管理、基础信息管理。学校学院信息、单锁管理设备数量、双锁管理设备数量、全部在管设备数量、台账登记数量、应急解锁次数、智能锁、智能网关、应急钥匙、解锁次数排行、授权次数排行、双锁解锁次数排行
103.提供品牌供应商获得的国家版权局颁发的智能无感危化品管理软件相关的计算机软件著作权登记证书
环境监测预警模块软件参数
104.软件功能:为了方便用户管理,系统均采用基础平台同一套成员、角色、组织架构等基础管理,无需在子系统下分别设置管理成员、部门等基础信息
105.系统运行安全和稳定,能够至少支持多用户同时在线使用
106.支持给每个用户的权限控制到具体的功能操作,如添加、修改、保存、删除、以及对物联网设备的使用控制等
107.为便于设备的维护查看运行状态,软件页面实时显示总的设备台数、正常设备台数、离线设备台数
108.可以在系统内统一管理设备的基础信息,包括设备编号、地点名称、设备名称、设备状态等信息,可以通过设备编号进行设备的统计和管理
109.实时查看设备的使用记录,包括臭氧的消杀记录、负离子的释放时间,根据每台设备每天的工作情况形成统一格式的报表数据,可以查看每台设备的工作时长
110.远程控制设备,包括设备的开启和关闭、设置设备的工作模式:净化模式、消毒模式
111.设备运行时,可以对机器进行风量调节,分别为高中低三档
112.空气质量监测平台软件界面展示包括:日期、空气质量、班级信息、温度、湿度、甲醛含量、二氧化碳含量、TVOC含量、PM2.5含量、PM10含量、设备耗材、近期工作记录等数据,同时可以选择夜间消毒、日间净化两个模式
1.申购
仪器及耗材库存不足或其他原因需要采购时,实验员、老师均可在系统发起申购,各级领导可统一进行审批、核对,避免重复申购;
系统包括申购单的新增、编辑、提交、审核、导入、导出和打印功能;
支持按名称和类型快速查询现有仪器或耗材,或输入新的仪器或耗材进行申购;
支持快速筛选库存不足或库存为0的仪器、耗材,进行统一申购。
2.采购
管理员或采购员可以对申请人提出的申购商品进行统一汇总,生成采购单;
也可以直接新增采购单,选择仪器、耗材进行采购;
支持采购单的新增、打印、删除;
对采购到货的商品进行验收,生成验收记录,停止采购的商品可以进行中止操作。
3.入库
将采购回来或从其他途径得到的试剂耗材,进行入库登记,在入库界面下载模板,按要求登记类别、类型、名称、规格、数量、存放位置、等信息,提交后就生成入库单,或通过excel导入,完成入库登记;
入库后的商品,支持通过智能设备进行录入操作用以绑定物品的唯一RFID标签信息,并关联具体存放位置的内置RFID芯片的“区域识别器”信息,设置后可通过智能设备进行无感借用、归还,并且只有权限人员登录终端系统可以操作。
4.仪器库存
可以直观地看到按名称归类库存商品的名称、规格、类型、单位、总量、在库数量、报废数量、借用数量等;进入详情展示后可以看到存放位置、标签编号、有效日期、状态等属性;在仪器清单中可查看该物品的详情信息包括入库时间、采购时间、价格、有效期等。
可按类别、类型、位置、名称、状态等快速查询装备的库存信息;
可查看商品的操作日志,包括借、还、盘点、报废等操作的详细信息;
库存不足,超限,或者试剂耗材快过期,已过期时,系统自动预警或报警,用户可以通过系统收到提醒消息;
5.仪器预约
用户可以在PC端预约仪器、耗材,进入预约界面输入预约使用时间,搜索需要的仪器名称,页面会展示所有可预约的仪器耗材,选择物品后添加到已预约栏,等添加完所有信息后提交审批。
预约提交后自动锁定目标物品和数量,避免多人预约同一物品时造成实际库存不足,取消预约后则自动解锁,释放原有库存,供他人预约。
6.借用
预约通过后,实验员将按照预约单上的物品进行准备,并通过登录到行为监测器或智能仪器车等智能借还设备进行借用操作,设备自动识别物品的RFID标签并显示名称、数量等信息,实验员在屏幕上核对无误后提交借用,系统播报本次共借用多少件,系统自动生成借用台账完成借用登记;使用人此时可直接领走使用。
7.归还
使用人正常使用后只需将需要归还的物品,拿到仪器室,通过实验员或使用人自己登陆智能借还设备,点击归还操作,设备自动识别物品RFID标签,识别到的物品及数量信息核对无误后提交归还,系统播报本次归还物品多少件,如有未归还物品,既自动完成归还登记并生成归还记录,同时显示出带归还物品的存放位置,实验员或老师可按位置将物品放回原处。
8.盘点
仪器装备在经过多次借还使用后,实际库存数量可能会和系统初始数量不一致,这时候就需要定期盘点,系统提供“区域盘点”和“整库盘点”两种模式应对不同盘点需求,方便用户进行盘点操作;
管理员通过使用“智取终端”或“超高频扫描枪”等设备进行区域盘点或整库盘点操作;
通过扫描识别需要盘点的区域内物品的RFID标签,系统就可自动进行盘点,完成后自动生成盘点记录,盘点记录详细划分盘点详情,包括:应盘数、借用中、已报废、缺失、归属异常、识别异常。管理员根据盘点情况可重新整理在库物品,精确查找各类异常数据所涉及的物品进行处理。
整理后重新盘点以达到正确库存状态。
9.报废
仪器装备在使用过程中会出现损坏、消耗、丢失、达到使用期限等情况,这时候就需要对物品进行报废处置;
系统提供“一键报废”和“盘点报废”两种报废模式,来应对不同报废场景的操作需求。
“一键报废”针对少量、明确的物品进行报废操作,管理员通过使用“智取终端”或“超高频扫描枪”设备对需要报废的物品进行RFID识别,识别到的物品填写报废原因后即可提交报废,报废后总库存会减少相对应的数量,并做报废记录;
“盘点报废”针对区域内多数物品、或丢失物品进行报废操作,先将需报废物品移除需要盘点的区域外,管理员通过使用“智取终端”或“超高频扫描枪”设备对区域内保留物品进行RFID识别,所有未识别到的属于该区域的物品信息都做报废处置,库存信息自动减去报废数量,生成报废记录。
10.低值易耗品领用
低值易耗品属于消耗性质的物品,每次领用后无需归还,系统入库时有选项类型标记低值易耗品,每次领用后系统自动减除相应库存数量,做报废登记,无需归还。
11.文件管理
可以统计库存报表,仪器详情单,低值易耗品清单,预约清单,借还台账,报废清单,保养清单,采购记录,入库记录,盘点记录,并可以导出为excel表格。
12.智能硬件联动
支持和智取终端、超高频扫描枪、行为监测器、智能仪器管理车等硬件联动,智能管理仪器耗材或危化品的出入库借还、录入、盘点、报废;
通过智能硬件进行出入库借还、录入、盘点、报废的操作;使用账号密码或刷身份卡方式登录系统,无权限人员无法使用;智能硬件系统信息同后台信息同步,所有数据同步。
北泽智慧实验室综合管理系统平台软件















































































































